10
Flange Sae-3000Psi 38,1Mm-3/4 Lige i gruppen Hydraulik / Hydraulik / Slangekoblinger hos Sagroparts (PS233101212)
Video

Flange Sae-3000Psi 38,1Mm-3/4 Lige

215 DKK / 194 DKK
Inkl. moms
3–6 arbejdsdagers levering Sporing hele vejen med PostNord
 
Læg i indkøbsvognen
Lägg i kundvagnen
bet alt
  • Info
  • Lagerstatus
    ArtikelnummerPS233101212
    Producent
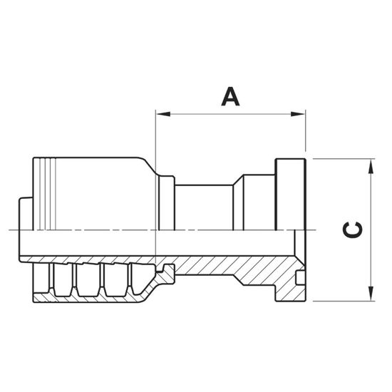
    Egenskaber
    - hydraulikslangekobling med færdigmonteret krampebøsning, egnet til slanger med 1, 2, 3 eller 4 lag
    - SAE 3000PSI (let serie)
    - o-ring tætning
    - o-ring: 25,00x3,53
    - flange: 3/4"
    - mål A: 39,5 mm
    - mål C: 38 mm
  • I produktgrupper
  • Slangekoblinger
  • Anmeldelser

Tilbehør og reservedele

Andre købte også:

Log ind
Vælg land