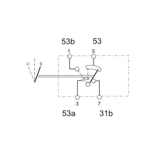
Kontakt Off/On/On 2-Hastighed viskermotor

133 DKK
Inkl. moms
3–6 arbejdsdagers levering Sporing hele vejen med PostNord
 
Læg i indkøbsvognen
Lägg i kundvagnen
bet alt
  • Info
  • Lagerstatus
    ArtikelnummerST7072
    ProducentCRX
    Egenskaber
    - for 2-hastigheds viskermotor
    - ydre mål 50x26 mm, dybde 39,5 mm
  • I produktgrupper
  • Afbrydere og relæer
  • Anmeldelser

Tilbehør og reservedele

Andre købte også:

Log ind
Vælg land