Brændstofsensor Mf 1613684M92 i gruppen Reservedele / Reservedele til traktor / Massey Ferguson hos Sagroparts (MF0092)
Video

Brændstofsensor Mf 1613684M92

892 DKK
Inkl. moms
3–6 arbejdsdagers levering Sporing hele vejen med PostNord
 
Læg i indkøbsvognen
Lägg i kundvagnen
bet alt
  • Info
  • Lagerstatus
    ArtikelnummerMF0092
    Producent
    Egenskaber
    Brændstofmåler passende Massey Ferguson modeller. 

    Teknisk specifikation:
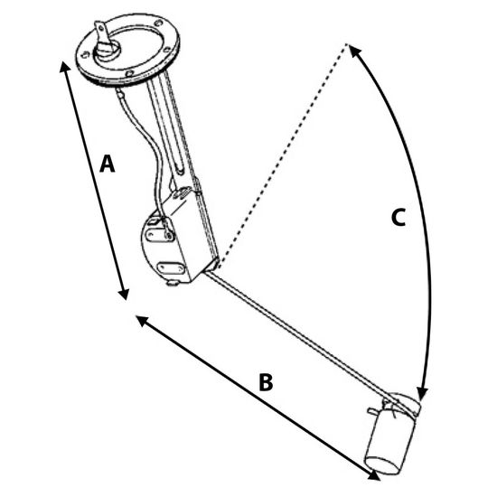
    (Se billede nr. 2 for specifikke mål nedenfor)
    - A 165 mm
    - B 320 mm
    - C 410 mm
  • Passer til
  • Massey Ferguson 565
  • I produktgrupper
  • Massey Ferguson
  • OEM-nummer
  • MF 1613684M92
  • Anmeldelser

Andre købte også:

Brændstoffilter 3885315 for overlegen snavsseparation.
REA
64 DKK 75 DKK
Køb!
Info
Oliefilter model 836479591, sikrer renere olie til traktorer og udstyr.
REA
92 DKK 108 DKK
Køb!
Info
Kvalitets startermotor til M127, Ny Ford 2000-7710, nem installation og pålidelighed.
2350 DKK
Type: M50G / M127
Montering: Højreside
Køb!
Info
Log ind
Vælg land